东莞有哪些大学(去大湾区上大学)
9月5日、9月6日,连续两份《方案》出炉,深圳和珠海获得了强大的支持,有希望在未来引进更多的大学。这两份《方案》剑指何方?如何评价大湾区的高等教育?正在进行建设的大学有哪些?为什么到大湾区上学意味着难得的机会呢?
一、两份方案举足轻重
9月5日,《横琴粤澳深度合作区建设总体方案》印发。《方案》中明确提出,“高标准建设澳门大学、澳门科技大学等院校的产学研示范基地”、“支持引进世界知名大学”。横琴粤澳深度合作区在哪里?它位于广东省珠海市香洲区横琴岛所在区域,与香港、澳门相邻。
9月6日,《全面深化前海深港现代服务业合作区改革开放方案》出炉。《方案》中明确提出,“在前海合作区引进港澳及国际知名大学开展高水平合作办学,建设港澳青年教育培训基地”。前海深港现代服务业合作区在哪里?它位于广东省深圳市南山半岛西部。
有了这两份《方案》,深圳和珠海两地就等于拿到了引进大学的“尚方宝剑”。要知道,就在不久之前的2021年7月28日,教育部《 关于“十四五”时期高等学校设置工作的意见》印发,让很多想要引进高等教育资源的城市头疼不已。原因在于《意见》明确要求从严控制高校异地办学。部属院校、想在东部开设异地校区的西部高校、跨省设立异地校区首当其冲受到了严格控制。
在两份《方案》,一份《意见》的影响下,深圳和珠海在引入大学方面把全国其他城市甩在了身后。整个大湾区的高等教育图景,随着两地引进港澳高校和国外高等教育资源,变得越来越壮观。
二、湾区教育起点不高
港珠澳大湾区包括香港特别行政区、澳门特别行政区和广东省的广州市、深圳市、珠海市、佛山市、惠州市、东莞市、中山市、江门市、肇庆市,共11座城市。港澳的面积都很小,但大学的密度却很高。
香港有以香港大学、香港科技大学、香港中文大学、香港理工大学、香港浸会大学、香港城市大学、香港岭南大学、香港教育大学八所大学为首的十几所高等学府。澳门也有澳门大学、澳门科技大学、澳门旅游学院等多所知名大学。
相比之下,珠三角9市的大学虽然数量不少,平均层次却不高,广州有33所本科院校,深圳有5所,珠海4所,东莞3所,肇庆2所,佛山、惠州、中山、江门各自只有1所。进入双一流行列的只有中山大学(广州、珠海、深圳三地办学)、华南理工大学、华南师范大学、暨南大学、广州中医药大学,共5所。
此前,港澳大学与内地合作的例子并不少。2016年,中山大学与香港中文大学和澳门大学共同发起了粤港澳高校联盟。目前,这个联盟已经有了40个成员,其中24所来自广东、9所来自香港、7所来自澳门。
2005年创立的北京师范大学——香港浸会大学联合国际学院是中外合作办学的典型;2017年启用的香港中文大学(深圳),实际上就是香港中文大学的深圳校区。澳门大学更是早在2013年就开始在横琴设点开课。
2021年9月3日,香港中文大学(深圳)音乐学院揭牌成立,这是深圳的第一所音乐学院。香港中文大学(深圳)医学院也在2021年招收了第一批本科生。
三、在建大学为数不少
正在建设和洽谈中的高等教育合作就更多了,下面我来分别介绍一下。
第一,香港大学要在内地开校区。2021年5月,香港大学副校长申作军表示,正在与深圳方面商讨建立香港大学深圳校区。9月6日,双方已经签署了合作备忘录,可能在南山区设立香港大学深圳校区。
第二,深圳大学要在香港开校区。2021年3月,深圳大学校长李清泉公开表示,准备去香港建立校区。目前此项目正在有序推进中。
第三,香港科技大学要在广州开校区。6月30日,香港科技大学(广州)教研楼首栋建筑浇筑封顶。预计在2022年开始招生。
第四,香港城市大学要在东莞开校区。4月22日,这所大学奠基,预计在2023年开启包括信息、计算机在内的5个专业的招生。
第五,香港公开大学要在肇庆开校区。校区落地在肇庆新区,预计在2021年招生的计划没能实现,预计在未来四年招生4000人。值得注意的是,9月1日香港公开大学已经正式更名香港都会大学。
第六,香港理工大学要在佛山开校区。可能会拥有广佛和机器人谷两个校区,未来10年分三期发展到3万人左右的招生规模
第七,澳门科技大学要在中山开新校。这所大学被定义为合作办学的“香山大学”,目前校区建设工程已经启动。
第八,澳门科技大学要与珠海合作办学。这所大学在2020年11月已经与珠海市签订合作办学协议。
第九,深圳海洋大学正在紧张筹建。由南方科技大学主导兴办的这所大学,将成为广东省继广东海洋大学之后的第二所海洋大学。
第十,深圳师范大学提上议事日程。年初由深圳市提出的深圳师范大学,虽然没有新消息传出,但正在紧锣密鼓推进。
第十一,大湾区大学将在2023年建成。设立在东莞的这所大学,将在2023年招生,预计到2030年招生人数达到6000人。
第十二,广州交通大学正式挂牌。在广州航海学院的基础上,合并广州民航职业技术学院、广东交通职业技术学院、广州铁路职业技术学院、广东邮电职业技术成立的广州交通大学,在2021年正式挂牌。
从目前情况看,与拥有麻省理工学院、哈佛大学、耶鲁大学、普林斯顿大学的纽约湾区和拥有斯坦福大学、卡内基梅隆大学、加州大学各分校的旧金山湾区相比,港珠澳大湾区的大学实力还相差比较远。但是与拥有东京大学、庆应义塾大学、东京工业大学的东京湾区相比,实力非常接近。
四、你想要的这里都有
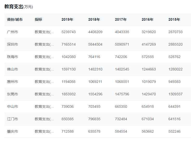
抛开香港和澳门不说,单说珠三角的9座城市,他们的GDP、人均GDP、户籍人口、教育投入在近几年一直保持增长。人口代表发展机会,GDP代表经济活力,教育投入代表着对未来的投资和留住人口的魄力。
负责任地说,珠三角将有更多更优秀的大学出现,新增招生人数将保持连年增长,越来越多的人会选择来这里上学。与首都经济圈和长三角相比,珠三角地区拥有更便利的落户条件,拥有更灵活的政策优势,这也是它的独特优势。
对于到珠三角上大学,你感兴趣吗?你对港澳大学纷纷落地珠三角怎么看?你对内地大学进军香港又怎么看?来评论区聊聊吧。
我是@缪老师妙笔生花,关注我,看更多原创教育观点,期待你的点赞和转发。
#洞见教育#









