东北林业大学地址(东北这所大学)
2020年高考的日子慢慢逼近,努力奋斗的高三学子们正在课堂上努力学习,即使烈日炎炎也要坚持。校外的家长们同样不敢放松,除了担心孩子高考外,同样担心怎么才能帮孩子选择一所好的大学。
东北林业大学知园
今天编者给各位考生和家长带来一所大学,学校面积达到3.3万公顷,相当于85个清华70个北大,号称全国校园面积最大的大学,它就是东北林业大学。
东北林业大学概况
东北林业大学坐落于黑龙江哈尔滨市香坊区和兴路,直属于教育部管辖,并由教育部、国家林业局、黑龙江省三方共建。学校早年获得了211工程名衔,也入选了世界一流学科建设高校,世界一流建设学科有2个,分别是林业工程和林学。
东北林业大学
除了上述2个世界一流建设学科,东北林业大学的生态学、植物学、森林工程、森林保护等一大批与林业相关的学科都是国家级重点学科或国家级重点涵盖学科,因此可以说林学类专业是东北林业大学的优势学科,绝对的王牌专业。
东北林业大学
3.3万公顷校园面积的由来
东北林业大学校园面积其实不大,其实仅136公顷。但是在我国,每一所林业大学都有其专门“负责”的林场,东北林业大学也不例外。算上东北林业大学拥有的2个实验林场,帽儿山国家森林公园和凉水国家级自然保护区,学校面积就陡然上升到了3.3万公顷。
帽儿山国家森林公园
此外,我国北方著名的林场,大兴安岭(部分)和小兴安岭就在黑龙江,东北林业大学的师生对其有“保护”的职责。学校的大小兴安岭生态功能区建设和林产品加工产业入选了黑龙江省的重点学科群。
大兴安岭
因此,虽然校园占地面积很普通,但是因为林业的特殊性,相关的林场算是师生开展教学活动,科学研究的场所、实验室等,所以一并算入学校的面积。
帽儿山国家森林公园
在之前的文章中编者介绍了中国农业大学、北京林业大学、华中农业大学、西北农林科技大学等一些农林类大学,今天又带来一所东北林业大学。
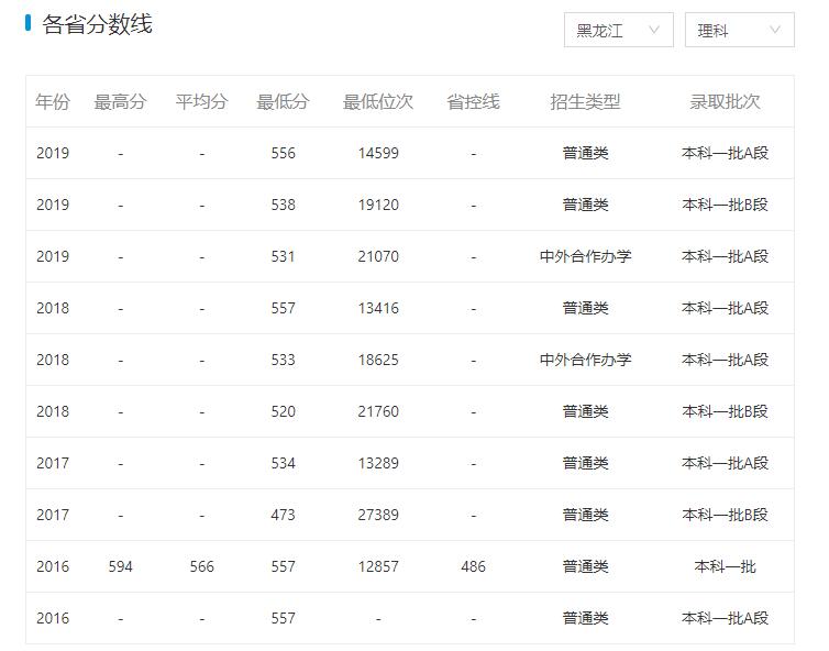
东北林业大学在黑龙江省理科录取分数
东北林业大学录取分数基本上在各省一本线上加40分左右,结合学校的区域位置、学校的名气和学科未来发展情况来看,在农林类大学中是个不错的选择,有兴趣的学子们可以选择报考。
上一篇:汕头大学怎么样(国内这所)
下一篇:一流大学名单(2022年)









