南京邮电大学研究生招生信息网(报录比丨南京邮电大学2020年硕士研究生报考录取情况公布)
20考研结束后,各大院校开始公布数据。为了让小伙伴们获得最新报录比信息,海文考研将及时更新已公布报录比信息的院校。
今天为大家带来的是南京邮电大学2020考研报录比数据。
南京邮电大学
为了方便大家查看,报考人数大于300的热门专业标了黄色。
学校简介
南京邮电大学(Nanjing University of Posts and Telecommunications),简称“南邮”(NJUPT),是教育部、工业和信息化部、国家邮政局与江苏省共建高校,首批国家双一流(世界一流学科建设高校)是以电子信息为特色,工学门类为主体,理、工、经、管、文、教、艺、法等多学科相互交融,博士后、博士、硕士、本科等多层次教育协调发展的综合性重点大学,享有“华夏IT英才的摇篮”之誉。
一级学科硕士点
专业硕士学位授权点
学科实力
世界一流学科建设学科(1个):电子科学与技术
国家重点(培育)学科(1个):信号与信息处理
江苏省优势学科(2个):信息与通信工程、有机光电子学
江苏省重点一级学科(1个):信息与通信工程
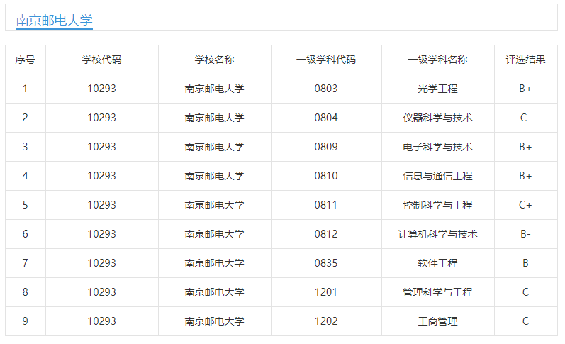
全国第四轮学科评估:
2021年硕士研究生招生简章
2021年我校拟招收硕士研究生2500名左右(包含全日制和非全日制硕士研究生),最终招生总人数以教育部正式下达的招生计划文件为准。招生计划包含推免生。录取时我校将根据学校有关文件以及教育部最终下达的招生计划数、考生报考、推免生接收及上线情况对招生计划进行调整。
拟招收“退役大学生士兵计划”25名左右。
具体查看官网。
2021年硕士研究生招生专业一览表
总结
南邮在江苏是很出名的,是中兴和华为的大户,根据去年的学校就业报告,有1400多人进入世界500强公司,前三名为华为,中国电信和中国移动:
想在江苏发展的同学,可以考虑一下南京邮电大学!









