华中科技大学是985么(华中科技大学录取分是多少)
华中科技大学是国家教育部直属重点综合性大学,由原华中理工大学、同济医科大学、武汉城市建设学院于2000年5月26日合并成立,是国家“211工程”重点建设和“985工程”建设高校之一,是首批“双一流”建设高校。
学校学科齐全、结构合理,基本构建起综合性、研究型大学的学科体系。拥有哲学、经济学、法学、教育学、文学、理学、工学、医学、管理学、艺术学等10大学科门类;设有106个本科专业,46个硕士学位授权一级学科,44个博士学位授权一级学科,39个博士后科研流动站。
根据985和211大学名单可知:华中科技大学既是211大学,也是985大学。
高考多少分能上华中科技大学 2020录取分数线是多少
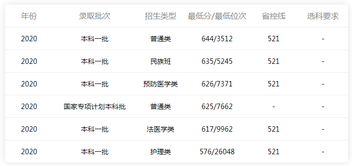
不同地区分数线不同,每年分数有所差别,根据2020年的分数线来看,华中科技大学在湖北本科最低录取分数理科是521分,文科是531分。专业不同,录取分数线也不同,要根据你所选的专业和你所在地区来看。
2020华中科技大学在湖北省录取分数线
理工类
文史类
华中科技大学王牌专业
2021华中科技大学专业排名 哪些专业比较好
华中科技大学宿舍条件怎么样?有空调吗?
华中科技大学现有紫菘、沁苑、韵苑等学生公寓群,共计76栋学生公寓,总建筑面积达43万平方米。公寓群规划十分合理,临近教学楼、食堂、体育馆、超市等,出行方便,可安排近5万名学生入住。学生公寓实现了教育部规定的本科生住宿标准,住宿条件仍在不断改善。
目前绝大部分本科生入住2000年以后新建的学生公寓。其中紫菘学生公寓可住10000余名学生,韵苑学生公寓可容纳近20000人入住。公寓内每个房间建筑面积27平方米,可住4人,内设盥洗卫生间,空调、电话、校园网接口等设施一应俱全。
本科生宿舍实现了空调、热水器、独立卫生间全覆盖,并设有洗衣房、自动售货机、咖啡机、直饮水等设施供学生日常使用。寝室为标准四人间配备,上床下桌,在室内学习和生活非常舒适。
华中科技大学怎么样好不好(网友评价)
1、985,211双一流工程建设高校 最近几年综合排名上升较快 理工科实力雄厚 强调实用 学风严谨 同学上进 定期邀请客座教授讲座 给学生很大发展空间 注重能力培养 主要学习cmos基础课程及ic设计 课程设计较合理
2、学校师资力量雄厚,教学水平也很好。计算机的发展前景还是不错的,现在互联网公司独占半壁江山,找工作应该不是很难。工科方面实践性比较强,这里有 30 个多个食堂让你每天都吃的不重样。假如你热爱森林,这里有 7000 亩的森林校园!还有一眼望不到边的青年园!还有在韵苑阳台就看得到的马鞍山森林,智者乐水,市区最大的东湖就在学校背后。仁者乐山,武汉市区最高峰就在校园内部。
3、华科呢是个学习氛围比较浓厚的学校,华科是个人人都爱学习的地方,图书馆、教学楼的自习人群不论是在平常还是考试周都是客观数量,考试周占座不是假的。四人间宿舍、空调、热水器都有,公寓化宿舍管理,最为吸引的莫过于44个食堂。工科和同济医学不是盖的,当然管理学院的排名也不弱,还有风格独特的新闻学院。
4、实力没得说 人才济济 老师很友善 非常幸运能来这里学习 母校给我提供了一个优秀的平台 非常感谢母校和老师们 预防医学专业华科是全国排名靠前的,流行病与卫生统计,环境卫生学等方向在全国是数一数二的,有一批非常优秀的博士生导师,科研项目多,成果也多,队列研究项目很大,非常好
5、学校整体给人的感觉学术研究浓郁,而且关键是学校真的好大,面积太大了!老师们都很亲切,我挺喜欢我们专业,我喜欢这个学校,学校的学习氛围非常好,大家都很努力,很少有不学习的家伙出现近几年,随着大型工程的复苏,机械类人才需求也逐渐增大,具有开发能力的数控人才和机械设计制造与加工机械专业人才将成为各大企业争夺的目标,机械专业人才就业前景无限。









