四川大学是985吗(四川大学和上海大学选哪个好)
#四川大学和上海大学选哪个#
如果不考虑任何因素,果断选择985层次的四川大学!
作为专注于广东高考升学指导的老师,接下来我做一个更加全面的分析。
四川大学:位于四川成都,现有望江、华西和江安三个校区,是教育部直属、中央直管副部级的全国重点大学;位列国家211工程、985工程、世界一流大学建设高校(A类)。
上海大学:位于上海市,有宝山校区(校本部)、延长校区、嘉定校区3个校区,是上海市属、国家“211工程”重点建设的综合性大学,教育部与上海市人民政府共建高校,世界一流学科建设高校。
由于上海这座城市的特性,加上上海大学作为市属高校的优势,在大师讲座、校际联动、当地就业、实习、社会实践和个人视野有明显的优势,导致其分数在很多省份均比较高,因此,确实有些家庭会对这两所学校产生选择性的困难。
那么,接下来我们从以下维度进行分析:
一、从分数来看。
四川大学和上海大学在很多省份的分数,都是川大高于上大。而且,上海大学在外地招生的数量并不算太多,因此,在有些省份,四川大学和上海大学的分差在10-20分左右,并不算太大。
2020届上海大学的生源地情况
因此可以看出,能考上四川大学的话,在大部分省份也是可以去上海大学的,但是能考上海大学,却不一定能读四川大学。
二、从发展城市来看。
四川大学的办学主体在成都,新一线城市,西部崛起的核心城市,当地高校资源比较丰富,有电子科技大学、西南交通大学、西南财经大学等双一流高校。在未来发展上,2020年四川大学的本科深造率突破50%,选择就业的毕业生中,留在四川省就业的占比 52.47%;其次流向广东省、北京市、上海市、浙江省等东部地区,占比为 28.15%。
2020年四川大学毕业生就业报告
2020年四川大学毕业生就业报告
到西部地区就业 6246 人,流向人数 位居前五位的地区主要为四川省(5047 人)、重庆市(381 人)、贵州省(159 人)、 陕西省(148 人)和云南省(146 人)。本硕博留川5047人,较上届增加253人。其中本科生留川1314人,较上届1551人明显减少。本硕博去广东、上海略减,去北京略增。上海大学的办学主体在上海,市属高校,类似深圳大学,有非常雄厚的财政支持力量,在教学资源、就业资源、校际联动等方面有着天然的优势,毕业生深造率约为42%,其中,选择就业的毕业生中,超过7成都留在上海就业。
2020年上海大学毕业生就业质量报告
因此,我们可以简单这么理解,目标就是本科就业的话,在不考虑其他因素的前提下,想留在上海,可适当考虑上海大学。
三、从专业选择来看。
先来看两组数据:
四川大学有博士学位授权一级学科47个,专业学位授权点32个,国家重点学科46个,国家重点培育学科4个,国家临床重点专科45个,是国家首批工程博士培养单位。学校进入ESI排名全球前1%的学科领域17个,其中,化学、材料科学、临床医学学科领域进入全球前1‰。截至2019年10月,有博士后流动站39个。
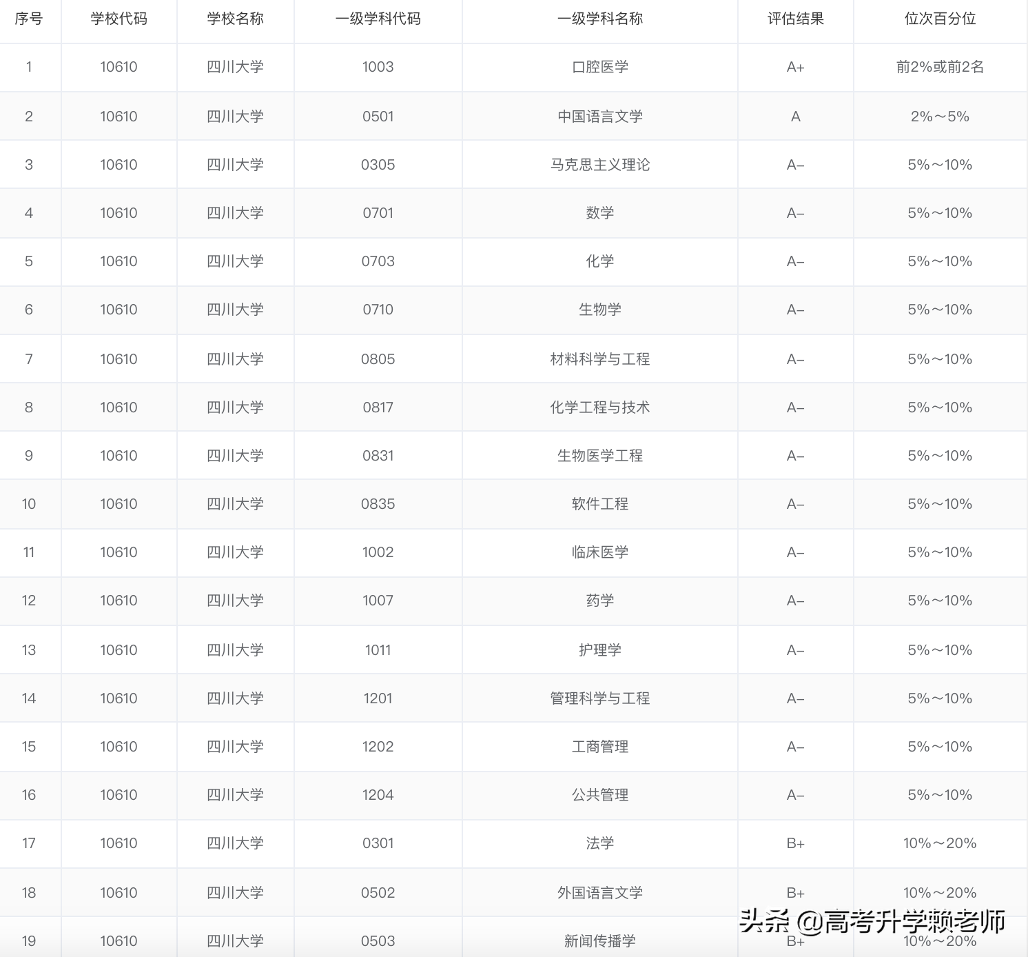
强势学科是理论经济学、法学、中国语言文学、新闻传播学、数学、中国史、考古学、物理学、世界史、化学、生物学、生态学、力学、机械工程、光学工程、材料科学与工程、信息与通信工程、计算机科学与技术、土木工程、水利工程、化学工程与技术、轻工技术与工程、环境科学与工程、生物医学工程、基础医学、临床医学、口腔医学、公共卫生与预防医学、中西医结合、药学、特种医学、医学技术、护理学、管理科学与工程、工商管理、公共管理、哲学、网络空间安全、艺术学理论等。
四川大学学科排名(部分)
上海大学设有30个学院、1个学部(筹)和1个校管系;开办91个本科专业;有19个博士后科研流动站,24个一级学科博士点,2个二级学科博士点,43个一级学科硕士点,1个二级学科硕士点,22种硕士专业学位类别;有专任教师3173人;有研究生16581人,全日制本科生19989人,预科生55人,成人教育学生17305人;在校就读的外国留学生4532人,其中学历生1872人。
强势学科是力学、电子科学与技术、冶金工程、数学、材料科学与工程、信息与通信工程、机械工程、控制科学与工程、社会学、中国语言文学、电气工程、新闻传播学、环境科学与工程、中国史、世界史、物理学、管理科学与工程、戏剧与影视学、美术学。
上海大学学科排名(部分)
所以,从选择专业角度来看,显然四川大学远远胜于上海大学!
四、从考研来看。
四川大学作为211工程大学, 保研和考研都比上海大学有优势,如果决定读研,一定首选四川大学!
四川大学2020届推荐免试研究生共计2134人,保研率24.76%。考研率14.3%
四川大学保研考研情况
上海大学整体保研率处于211高校行列中间水平,2021届上海大学保研率为10.15%。对于一所211高校来说,这样的保研率不算太高,也不算太低。
总结
能选择四川大学就选择四川大学,本科进入985,研究生能更加容易进入更高平台。
但不排除有些考生为了本科留在上海就业,因此,想要作出科学判断,理性选择,一定是从个人生涯发展角度出发,结合现有分数,对未来的发展想法,进行全方面综合分析,科学选择。









